在商业世界的普遍认知中,三流企业做产品,二流企业做品牌,而一流企业做标准。
当大多数企业还在为市场份额厮杀时,青岛恒诺世佳品牌管理有限公司已经悄然完成了一场从“跟随者”到“定义者”的身份跃迁。
恒诺世佳及其关联公司深度参与了多项国家及团体标准的起草工作。这一连串的动作,不仅仅是技术实力的展示,更标志着这家企业正式进入了 “以规则输出引领行业发展” 的全新阶段。

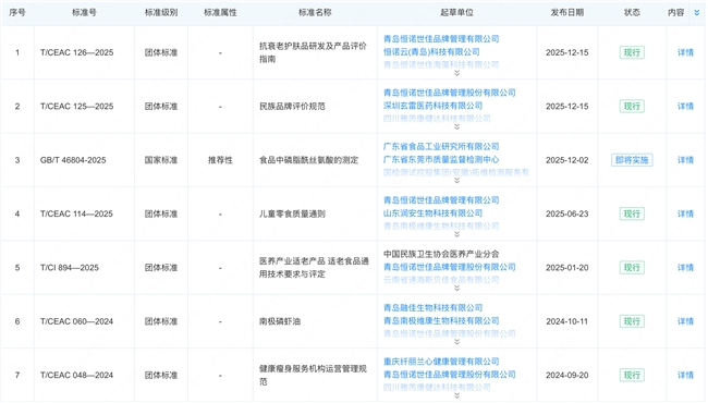
一张截图背后的“标准版图”
这份公开的企业标准信息列表,勾勒出了恒诺世佳在大健康产业的深远布局:
登顶“国家队”:公司参与起草了 GB/T 46804-2025《食品中磷脂酰丝氨酸的测定》。这是即将实施的国家级标准,代表着公司在特定成分检测领域的技术实力得到了国家层面的权威认可,拥有了行业话语权。
构建全产业链标准护城河:从上游原料端的 《南极磷虾油》,到功能成分应用端的 《虾青素食品通用要求》,再到消费端的 《儿童零食质量通则》,以及服务端的 《健康瘦身服务机构运营管理规范》……这一系列标准涵盖了原料、研发、生产、检测、服务的全链条。
这不再是零散的参与,而是一套完整的 “恒诺世佳标准体系”。
从“卖产品”到“卖规则”:一场深刻的商业进化
过去,衡量一家企业实力的是生产线规模和销量数据。但在恒诺世佳的实践中,我们看到了更高级的商业逻辑。
首先,这是“中国标准,世界品质”的底气。
以《南极磷虾油》标准为例,据透露,其制定的部分关键技术指标甚至超越了美国同类标准。这意味着,当消费者选择恒诺世佳的产品时,他们享受的不仅是国标级的安全保障,更是全球顶级的品质体验。标准高一点,产品好十分。
其次,这是为企业发展构建“技术壁垒”。
在资本市场,不确定性是最大的风险,而标准代表着确定性。这些已发布实施的团体标准,不仅是质量保证书,更是企业在挂牌、上市、融资过程中的核心加分项。它们是无形资产,是技术法规,是证明企业具备持续领先能力的铁证。当竞争对手还在摸索方向时,恒诺世佳早已在赛道上竖起了路标。
推动行业进步,缔造有远见的商业传奇
“一流企业做标准”的另一层深意,在于责任。
恒诺世佳参与制定的《民族品牌评价规范》和《医养产业适老产品通用技术要求》等标准,跳出了单一产品的局限,着眼于行业生态的净化与升级。
通过将自身的先进经验转化为公共规则,恒诺世佳正在助力整个大健康产业告别野蛮生长,走向规范化、高质量发展。这正是“缔造有远见的商业传奇”这一使命的具象体现。
从输出中国产品,到输出中国标准,恒诺世佳用一张张沉甸甸的标准文件,向市场宣告:真正的行业领导者,不仅在于占领了多少市场,更在于定义了这个时代的美好生活。
未来,随着这些标准的深入实施,我们有理由相信,这家从青岛走出的企业,将带着它的“中国标准”,在世界大健康的版图上,刻下自己的名字。