——江西华谊知识产权代理有限公司案例观察
一、全类别防御式注册:建立品牌法律屏障
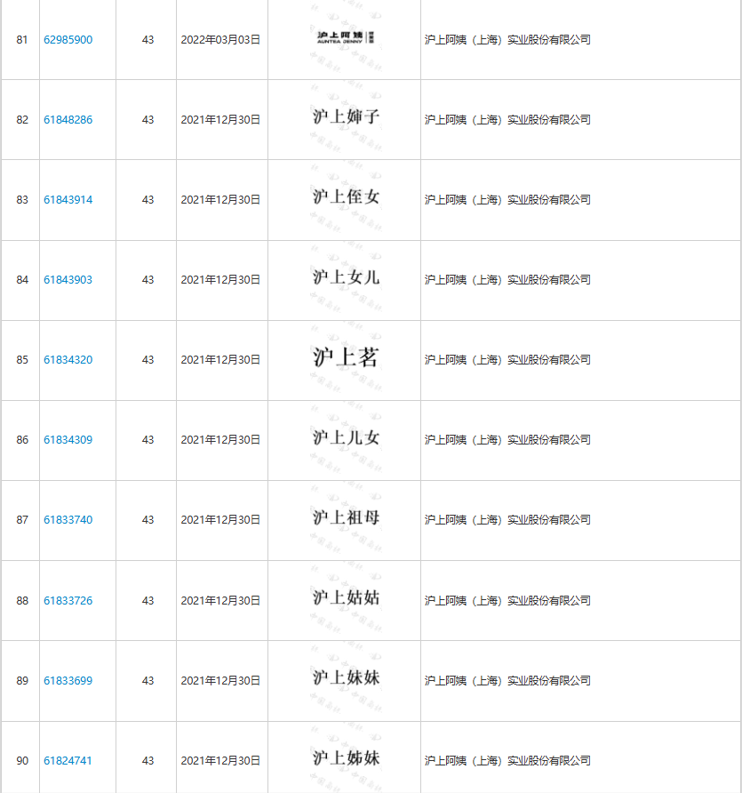
自2013年成立以来,沪上阿姨在品牌创立初期即体现出较强的知识产权保护意识。该企业不仅注册了核心商标“沪上阿姨”,还围绕这一品牌名称系统布局了包括“沪上姨父”“沪上祖母”“沪上妈妈”等在内的1600余件关联商标,覆盖茶饮、餐饮服务、广告营销等多个类别。该类注册行为的实质,是通过对“地域+亲属称谓”组合商标的全面占位,提前规避可能的混淆和恶意注册行为。

(图片来源:沪上阿姨部分“沪上”系列防御商标注册信息)
该类布局对企业发展的实际意义包括:
提高维权效率:若出现“沪上婶子”“沪上外甥”等近似商标,企业可依据已注册权利迅速采取法律措施,降低维权举证难度与成本;
防止市场误认:有效阻截试图借助相似名称攀附品牌商誉的行为,避免消费者产生混淆,保障品牌形象与市场占有率;
拓展商业合作空间:完善的商标储备为后续品牌授权、跨界联名等商业操作奠定了法律基础。
反面案例:鹿角巷商标缺失之困
2018年,茶饮品牌“鹿角巷”因未及时在中国大陆注册核心商标,导致遭遇大量恶意模仿,山寨门店数量短期内激增至超7000家,而正规门店仅百余家。由于事后维权困难、消费者信任度下降,该品牌错失了关键发展机遇。
二、创业初期的知识产权意识:商标是品牌成立的“法律凭证”
沪上阿姨在品牌推出前便启动了商标注册程序,体现出明显的战略前瞻性。不少初创企业常误以为“可待品牌成熟后再申请商标”,该类观念存在显著法律与经营风险。需注意的是,中国商标注册周期通常为9–12个月,如未提前规划,可能面临商标被抢注、被迫更名或高价回购商标的困境,甚至引发侵权纠纷。
典型案例:某地方小吃品牌因商标缺失终止经营安徽餐饮品牌“肥娟小吃”因长期未注册商标,后被他人抢注并提起法律诉讼,最终导致该品牌不得不彻底更名并停业,原有品牌积累的市场认知度丧失殆尽。
江西华谊知识产权建议:
●企业应在产品或服务正式上市前至少6个月提交商标注册申请;
●除核心类别(如第43类餐饮、第35类广告销售)外,应同时布局相关防御类别;
●建立商标监测机制,定期关注商标公告,及时应对涉嫌抢注的行为。
三、长期战略意义:知识产权为企业持续发展提供保障
沪上阿姨累计申请的1600余件商标,不仅构成其法律保护体系,更成为企业品牌资产的重要组成部分。随着企业规模从区域扩展至全国,其商标体系已形成明确层级:
核心商标:“沪上阿姨”主品牌;
防御商标:包括各类“沪上”系列亲属称谓商标;
衍生商标:覆盖新产品名称、宣传标语等衍生标识。
未实施系统商标布局的企业常面临如下风险:
●如茶饮品牌“答案茶”,就因商标权属不清导致加盟管理混乱、产品配方泄露及山寨泛滥,最终退出主流市场;
●某知名连锁品牌因商标问题需紧急全面更名,导致品牌重塑成本超千万元。
知识产权的本质是对品牌价值的法律固化。沪上阿姨通过长达十年的商标战略实施表明,早期在商标领域的系统投入,最终可转化为市场竞争中的显著优势。
结语沪上阿姨的商标保护案例表明,有效的知识产权布局应做到:防御注册为盾,提前申请为矛,持续监测为甲。江西华谊知识产权代理有限公司提示广大企业,应从品牌创立之初即将知识产权保护纳入核心战略,唯有如此,方能在日益激烈的商业竞争中实现稳健与长远发展。